20 and 22 Ropemaker Street

20-22 Ropemaker is a high-rise office development in the City of London designed by Make Architects for Old Park Lane Management.
The building comprises of several stepped masses, with the tallest being 26-storeys, providing several terraces to serve different offices levels and excellent views of the city. FMDC were appointed by Make Architects from Stage 2 to completion.

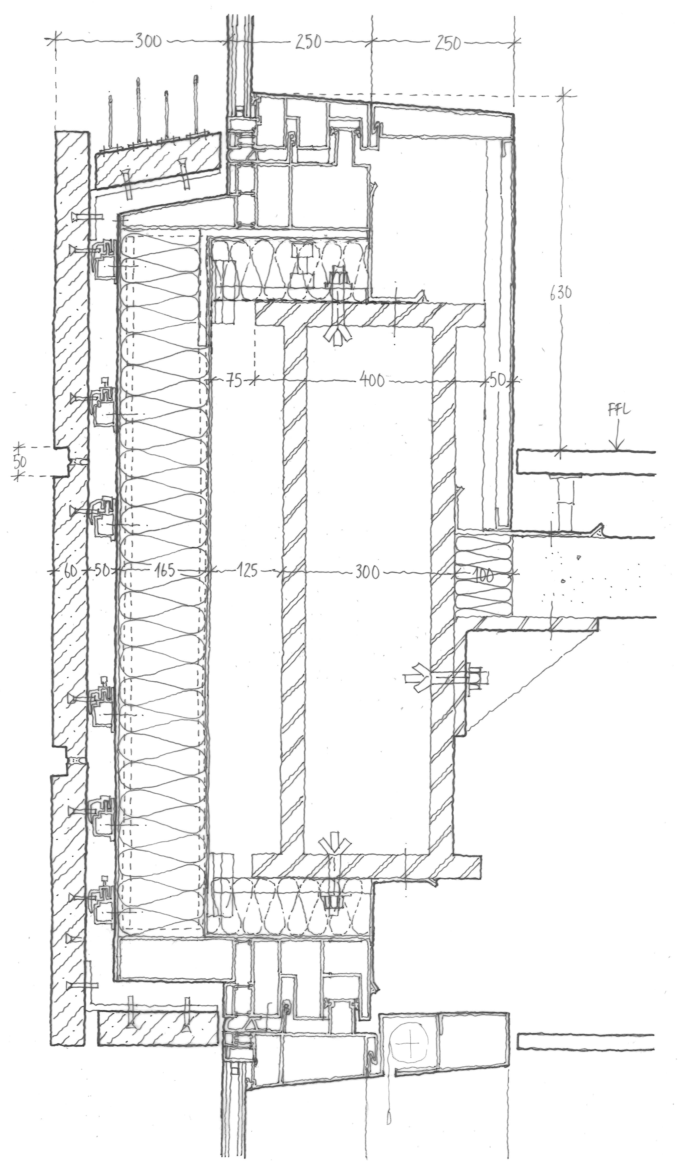
The façade comprises of unitised curtain wall with limestone and terracotta rainscreen units hanging from the panels, granite is also used throughout the building.

The balconies to the south elevation are fixed to the unitised units to minimise the thermal loss due to penetrations through the façade. At the ground floor, steel stick curtain wall is used due to the large spans.

The project was completed at the beginning of 2025 and has been awarded Highly Commended – Best Commercial Workplace at the BCO Regional Awards 2025. The building has also achieved BREEAM outstanding (2018) and WELL V2 Platinum.

Photographs of the completed 20 and 22 Ropemaker courtesy of Make. Sketch details and construction photographs FMDC.